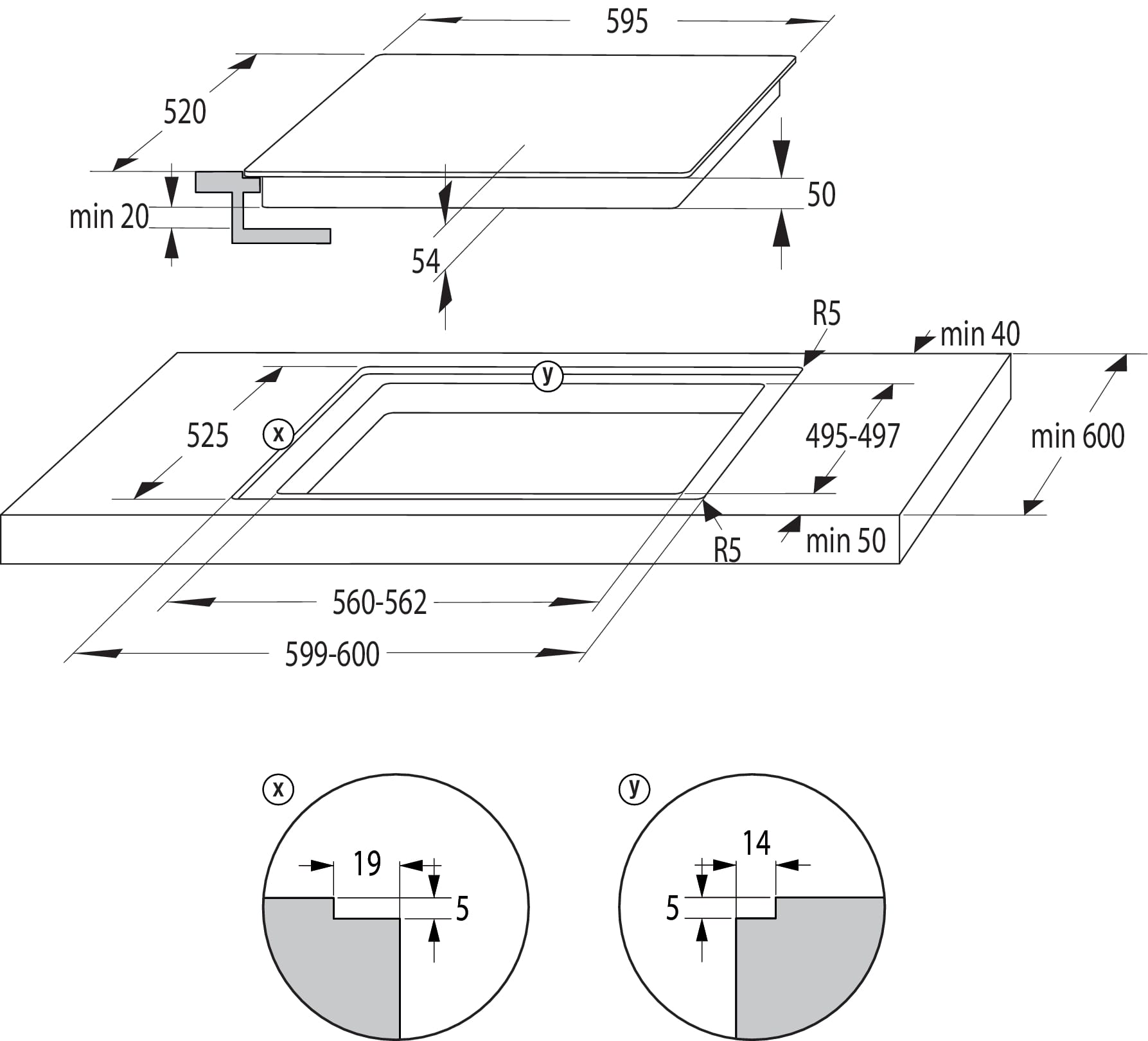
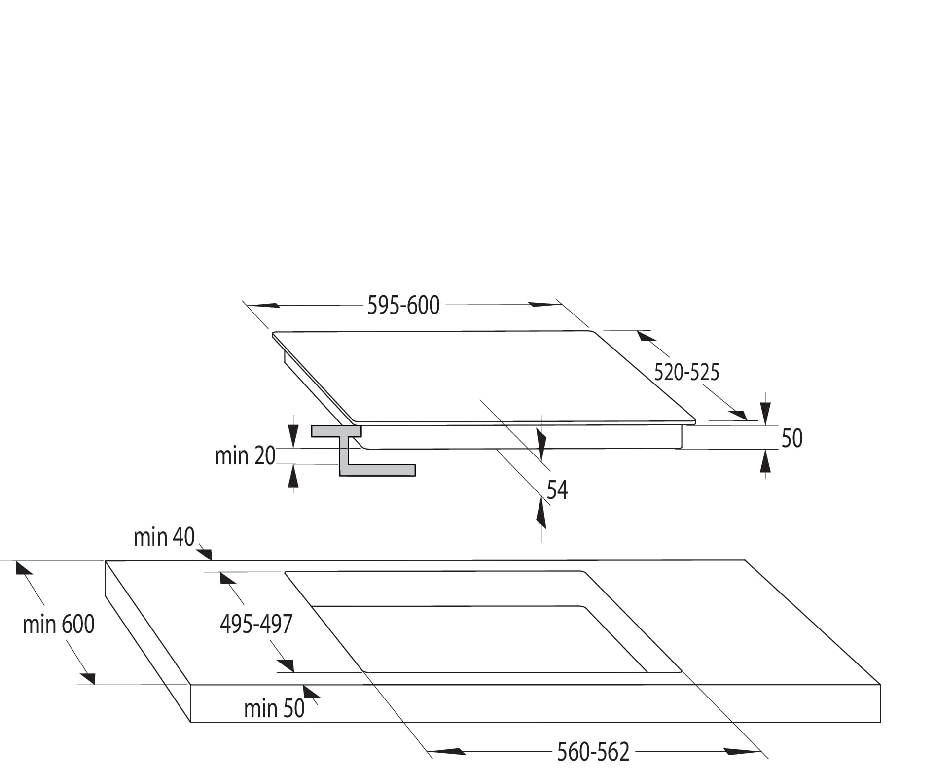
FAQ: Table de cuisson | Induction
I6456C
Vérification de la tension du réseau 220V.
- Avant tout raccordement, assurez-vous que la tension indiquée sur la plaque signalétique de l’appareil correspond bien à celle de votre installation domestique, voir le schéma de raccordement collé en-dessous de la plaque comme ci-dessous.
Un électricien doit contrôler cette tension (220–240 V entre L phase et N neutre) à l’aide d’un appareil de mesure adapté.
2. Veuillez extraire en tirant vers vous les 2 cavaliers voir la flèche sur la photo ci-dessous.


3. Ouverture du boîtier de raccordement
Ouvrez le couvercle du boîtier comme ci-dessous.

4. SCHÉMA DE RACCORDEMENT monophasé 220-240v.
• Raccordement monophasé (220–240V~ /50/60Hz):
La tension entre la phase et le neutre est de 220–240 V~.
Placez les deux cavalier entre les bornes L1 et L2 (phase) repère 1 et 2 ainsi qu'entre les bornes N1 et N2 (neutre), voir photo ci-dessous repère 4 et 5.
Le fil de terre jaune et vert sur la borne de terre PE.
ATTENTION : veillez à bien serrer les vis afin que les câbles et les cavaliers soient parfaitement solidaires
Le câble de raccordement doit avoir une section de 4 mm2 au minimum.
Le circuit doit être protégé par un disjoncteur de 32A au tableau electrique.
Remettez le serre-câble dans sa position initiale, puis resserrez la vis.


5. Enfin veuillez refermer le boitier de connexion.

Valable pour les produits suivant:
HI6311BSFRE, HI621FM, HI6421BSC, HI6311BSCE, HEIT6A40WG, HEIT5A40WG, I6433CB7, I6456CB, I6337C, I6341CB, HI55222BW, HI65222BB, I6433CB, HI65022BW, I6456C, HI55222BB, I6341C, I6421C, I6433CService client
Nous sommes là pour vous aider!
Si vous avez des questions ou des préoccupations concernant nos produits n'hésitez pas à nous contactez
ou appelez-nous au
01 76 49 05 05
Besoin de pièces
détachées ?
Trouver ma pièceTable de cuisson | Induction
I6456C
Manuel d'utilisation .pdfTéléchargerFiche produit .pdfTéléchargerDoc CE .pdfTéléchargerCarte de garantie.pdfTéléchargerGuide d'installation.pdfTélécharger Service client
Nous sommes là pour vous aider!
Si vous avez des questions ou des préoccupations concernant nos produits n'hésitez pas à nous contactez
ou appelez-nous au
01 76 49 05 05
Choose Your region
✕You try to access the Hisense FRANCE website but your web browser setting is set in another language. Please select the country you're in to access the correct Hisense website, otherwise, just select France in the list below to continue




















